STAINLESS STEEL THREADED EYE TAB - T316
STAINLESS STEEL THREADED EYE TAB - T316
from $5.62
FOR WHOLESALE QUANTITIES AND PRICES PLEASE CALL (909-595-8500) OR EMAIL US AT SALES@CABLERAILSPECIALIST.COM
THREAD LENGTH:
Quantity:
*All specifications and descriptions are done manually, some of the information, including price, descriptions, specifications, and/or quantities may not be 100% accurate.
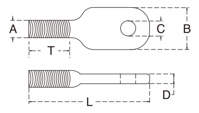
| Part No. | A (Thread) | B | C | D | T | L |
|---|---|---|---|---|---|---|
| T6TRET516-114UNF | 5/16”-24 | 0.50” | 0.25” | 0.23” | 0.38” | 1.25” |
| T6TRET516-114UNC | 5/16”-18 | 0.50” | 0.25” | 0.23” | 0.38” | 1.25” |
| T6TRET516-38UNC | 5/16”-18 | 0.5 | 0.25” | 0.23” | 3” | 3.80” |
| T6TRET516-38UNF | 5/16”-24 | 0.5 | 0.25” | 0.23” | 3” | 3.80” |
| T6TRLET516-28LAG | 5/16”-LAG | 0.5 | 0.25” | 0.24” | 1.50” | 2.43” |
